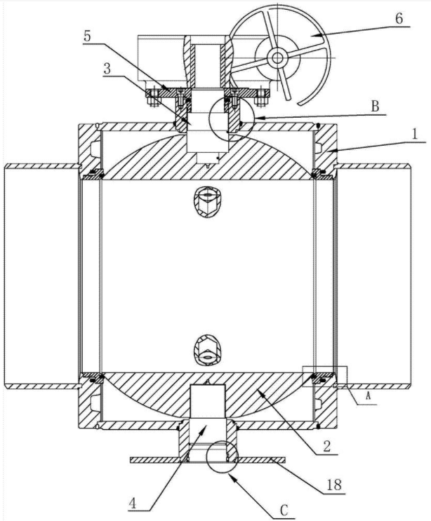
全焊接球阀结构示意图
随着全焊接球阀乐彩汇技术的不断成熟,其功能也是越来越完善,目前我们在城市燃气、城市供热、石油化工、造船、钢铁、调压站、发电厂等各类管道设备上都可以看到全焊接球阀的身影。
乐彩汇 全焊接球阀应用这么广泛与其良好的品质、密封性、使用寿命以及超高的稳定性有着很大的关系,这是普通的铸钢球阀所无法比拟的。
那么为什么全焊接球阀的性能、使用寿命等都这么好呢?其关键之处就在于全焊接球阀阀体结构的特殊性。我们先来看看全焊接球阀的结构示意图(图1),再来仔细讲讲其结构的特殊性。

乐彩汇 图1 全焊接球阀阀体结构示意图
全焊接球阀阀体结构采用整体式焊接而成,这就使得全焊接球阀的密封性能好于普通铸钢球阀,另外全焊接球阀的阀座由PTFE密封环及弹簧组成对压力和温度的变化适应能力强,在使用范围内不会产生泄漏。
乐彩汇 还有为了方便,全焊接球阀是可以长期埋于地下工作的,阀体的选用的材料和管道材料相同,因此不会出现应力不均,也不会因为地震或者车辆经过地面时出现挤压变形的情况,因此全焊接球阀可以长期埋于地下工作而无需更换。
上一篇新闻:双向承压蝶阀与普通蝶阀区别
下一篇新闻:全焊接球阀通径和缩径差别
服务热线:0577-85981234 
当前位置: